首頁 > 技術資訊 > 技術百科
安全夾頭允許操作者在機器運轉過程進行軸向調整。調整可以通過手輪進行,軸向支撐托片確保卷曲軸安全,準確的傳遞扭矩。
東莞天機機電有限公司是在具有16年開發生產糾偏器、電磁離合器、電磁制動器專業技術基礎上組建的。
南通ST系列恒張力控制器實現卷材的恒張力控制
涂布機采用單工位提升式放卷方式,配備有2根3英寸凸鍵氣脹軸
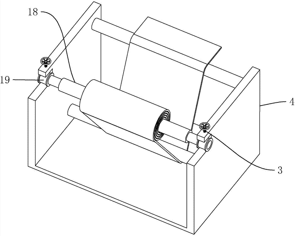
收放卷安全卡盤用于對物料進行卷取或導開,根據需要,它可以與電動機連接做主動旋轉,又可以做被動旋轉
佛山凸鍵式氣脹軸生產廠家的氣脹軸構造亮點
氣液糾偏自動跟蹤控制器(又稱糾偏機)
隨著東莞氣脹軸的需求越來越廣泛,對東莞氣脹軸廠家的要求也是越來越高了
ST6400自動張力控制器是 基于32位ARM型CPU內核的高可靠性張力控制器
現在工業出產制作環節中使用到蘇州的充氣軸的狀況越來越多,大眾也開端逐漸觸摸認識到這一產品
口罩糾偏一體機,帶材在傳輸中的橫向偏移由光電傳感器檢測
石家莊漲氣軸顧名思義不畏透過氣槍對著氣脹軸的氣嘴充氣而成,根源美塞斯。
西安可承受高負載的安全夾頭也簡稱為安全卡盤,根據類型可分為軸座型、法蘭型
磁粉離合器操作便捷的特點,利于機械本身性能的更好發揮。
上海手動KTC002張力控制器其應用簡單方便小巧,便于安裝。
南通瓦片式氣漲軸的使用說明非常簡單,就是說簡易的根據打氣筒壓緊管芯保持做到工作態度。
口罩機在卷材卷繞過程中,卷材邊緣一旦失去對齊,后續生產過程將會出現材料浪費、停工調試等情況
由于漲氣軸選用的是特殊加工出的管材
我司全新開發的糾偏一體機控制器,應用于對窄幅物料的精確糾偏
也許您正想要定制鍵條式汽漲軸,卻困于對定制流程的不了解和不知道找哪家上海鍵條式汽漲軸公司, 讓自己一籌莫展。
南昌方口安全夾頭顧名思義就是安置在機器上一個最方便位置上的一個零部位,它的作用是方便其他工具的擺放和移動的。
首先,廣東板條式氣脹軸廠家介紹,質量好與不好,主要是看密封
微信掃一掃關注我們
掃一掃手機站
? 2019 東莞市臺機減速機有限公司 版權所有 粵ICP備18062564號-8 網站地圖 免責聲明
服務熱線 189-2540-2950